金年会诚信至上

    X

    扫码添加微信,预约免费演示

    精准获客 智能决策

    数字化外贸综合营销决策平台

    现在预约免费体验更多数据服务

    请完善以下信息,以便为您安排演示或样本

    提交成功!

    已自动分配售前顾问为您服务。请添加微信,更快获取项目案例和报价

    中文
    English بالعربية Español
    EN
    登录 免费试用
    بالعربية Español
    金年会诚信至上 > 金年会诚信至上报告 > 印度尼西亚深度分析报告 —— 把握东南亚市场红利

    印度尼西亚深度分析报告 —— 把握东南亚市场红利

    日期:2025年11月05日

    根据印尼贸易部统计,印度尼西亚2025第二季嫉妒达到5947万亿印尼盾,而2024全年GDP总量为22138.96万亿印尼盾(约合1.35万亿美元),同比增长5.03%

    印度尼西亚近三年从中国进口的贸易整体呈现稳步增长的趋势,尤其在2025年表现出较强的复苏势头和持续扩张的态势。从月度数据来看,自20231月至20257月期间,进口规模逐步攀升,反映出印尼国内市场需求回暖以及供应链逐步恢复的持续信号,贸易仍保持相对高位,说明中国作为印尼重要进口来源国的地位持续巩固。

    (>点击获取完整报告<)

    5

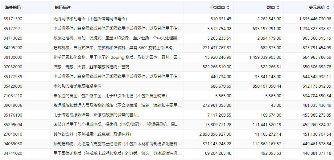
    印度尼西亚近一年从中国进口的热门产品呈现出以高科技工业制成品和关键工业材料为主导的多元化结构,突显了两国贸易的互补性与印尼经济开展的核心需求。从进口额来看,通讯及网络设备类产品占据显著地位,如“无须网络移动运输(不包括数据传输)和多种电话通信设备均位列前茅,进口额巨大,这反映了印尼在数字基础设施和通信网络建设方面对中国供应链的高度依赖与强劲需求。同时,自动数据处理机、广播电视设备等信息技术产品也占有重要份额,表明印尼正持续有助于其产业数字化与智能化升级。在工业基础材料方面,用于电子化的化学元素与化合物进口额同样可观,支撑着本土制造业与电子产业的开展。值得注意的是,部分产品如“冷凝、蒸发设备等,其“下限数量“预测值之间存在巨大差异,可能暗示着数据统计口径的特殊性或特定大宗项目的周期性进口特征。

    7

    印度尼西亚历年进出口统计如下。

    (>点击获取完整报告<)

    声明:文中部分素材来源于网络,如有侵权联系删除。未经本站授权,任何人不得复制转载、或以其他方式使用本网站的内容

    订阅金年会诚信至上

    SUBSCRIBE US

    掌握外贸最新情报,挖掘全球贸易商机。
    微信扫码订阅

    tendata

    免费试用

    免费试用

    微信

    1V1微信咨询

    WX:18721992033

    电话

    电话咨询

    400-180-6080
    tendata

    返回顶部